Extraction valve with a design that ensures that exhaust air is optimally directed into the valve from a wide area of the room. The valve's bayonet mount facilitates installation and subsequent cleaning
The valve includes a frame for easy mounting in the ventilation pipe.
The airflow can be easily adjusted by opening or closing the valve head. The setting can be saved by locking the valve head on the internal thread position.
Made of sheet steel with a white lacquer finish.
Type | Item number | DB number |
Ø125 mm | 118985 | 5813248 |
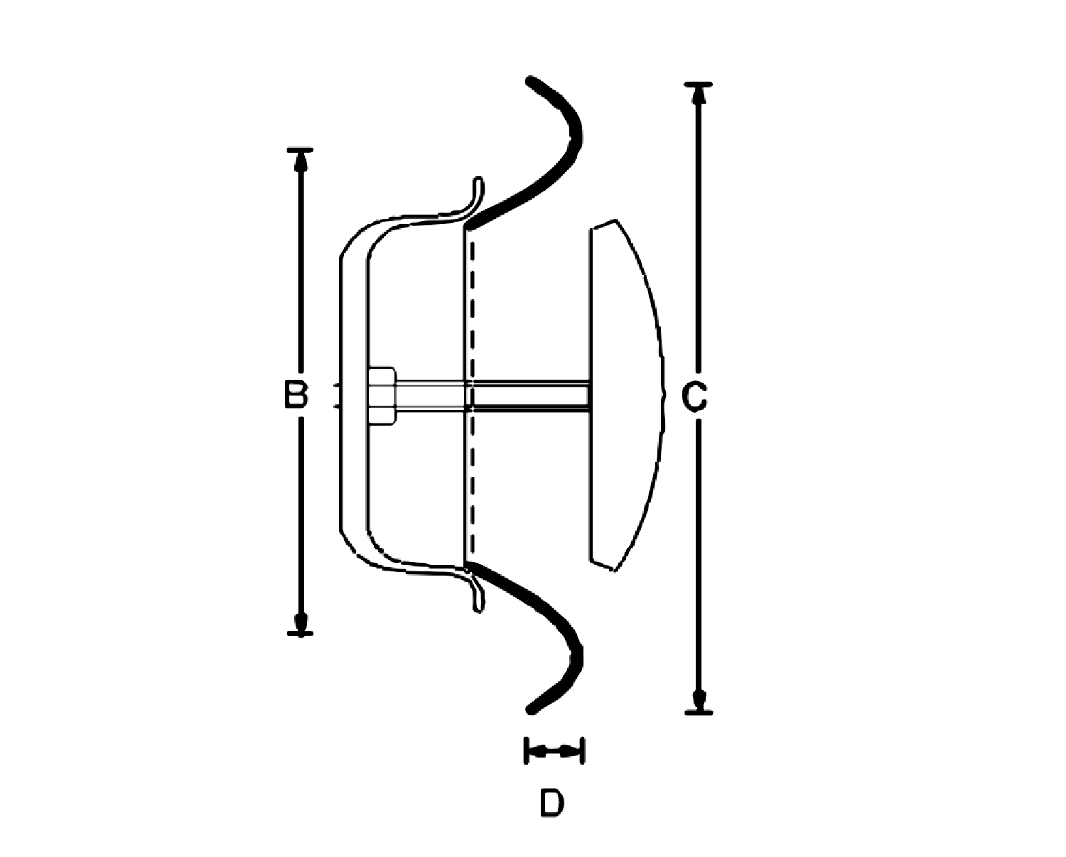
Type | B | C | D |
Ø125 mm | 125 mm | 164 mm | 12 mm |


















































































